Main Content of a Reverse-Pull Ramie Stripping Device

{acf_blog-txt}
Main Content of a Reverse-Pull Ramie Stripping Device

I. R&D Background and Objectives
- The ramie stripping process accounts for more than two-thirds of the labor in the entire production process. It is labor-intensive, seasonal, and technically demanding, which has become a key bottleneck restricting the large-scale and mechanized development of the ramie industry.
- Existing fully automatic reverse-pull ramie stripping machines have three major problems: unstable feeding relying on gravity, where differences in ramie rod sizes easily affect stripping results; twig and leaf entanglement at the tip with equipment axles or driving parts, leading to failures; and the need for horizontal moving mechanisms, resulting in large horizontal floor space and hindering intensive layout.
- The R&D objective is to solve the pain points of existing equipment, achieve stable, efficient, and compact layout of the entire stripping process, and adapt to the mechanized processing of ramie of different specifications.
II. Core Structure of the Device
(I) Main Components
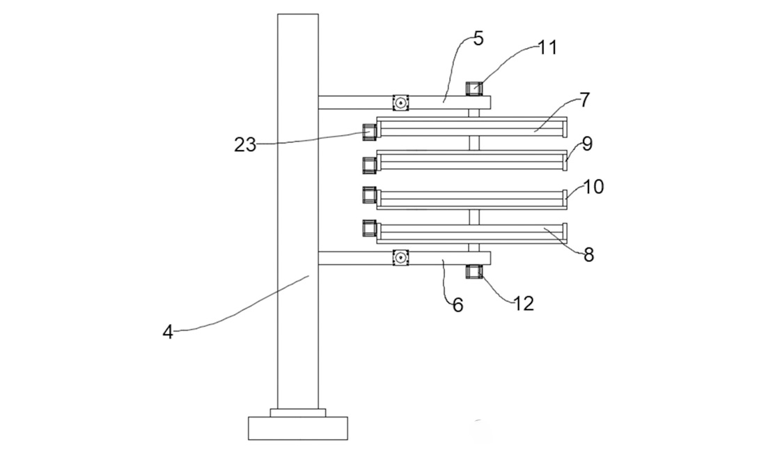
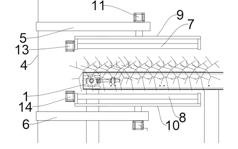
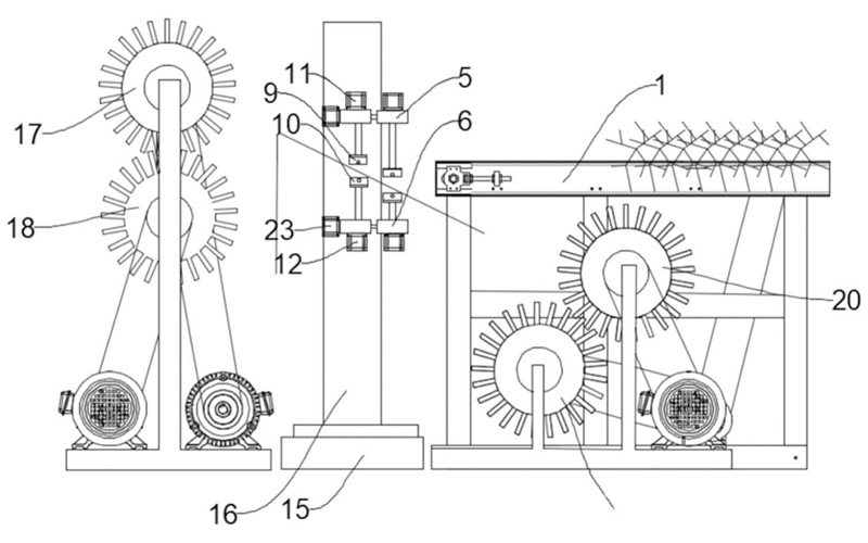
The device includes a feeding device, a second ramie stripping device, a first ramie stripping device, a rotating column, as well as a first clamping device and a second clamping device with the same structure (the second clamping device is located on the axial side of the first clamping device).
(II) Functions of Key Components
- Clamping device: Composed of an upper support plate, a lower support plate, an upper clamping roller, and a lower clamping roller, forming a gap for clamping ramie; equipped with a driving device (first and second drive motors) to drive the rollers to rotate, a vertical adjustment device (first and second vertical telescopic cylinders) to adjust the size and vertical position of the clamping gap, and a horizontal adjustment device (two sets of horizontal telescopic cylinders) to adjust the distance between the two clamping devices.
- Rotating column: Consists of a rotating base and a column supported on the rotating base, which can rotate around its own axis to drive the two sets of clamping devices to rotate synchronously, realizing the transfer of ramie from the feeding end to the stripping area.
- Ramie stripping device: The first ramie stripping device includes upper and lower vertically opposed rollers, forming a first feeding gap extending horizontally backward (at the same height as the bearing surface of the feeding device); the second ramie stripping device includes obliquely matched upper and lower rollers, forming a second feeding gap extending obliquely forward and upward.
- Feeding device: Adopts a conveyor belt, where the tip of the ramie on the belt extends toward the second ramie stripping device, and a gap is provided between the conveyor belt and the second ramie stripping device to accommodate twig and leaf debris.
III. Core Working Principle
- Feeding and clamping: Ramie is conveyed by the conveyor belt. After the tip extends out of the conveyor belt, the two sets of clamping devices clamp the ramie from the side, and the horizontal adjustment device synchronously scrapes off the twigs and leaves at the tip and provides stable support.
- Transfer and feeding: The rotating column rotates to transfer the clamped ramie between the first and second ramie stripping devices; the vertical adjustment device adjusts the vertical position of the clamping gap, allowing the ramie to enter the feeding gap at an appropriate angle.
- Reverse-pull stripping: The drive motor drives the clamping rollers to rotate, implementing reverse traction on the ramie. The ramie is first initially stripped by the first ramie stripping device, then the entire rod is stripped by the second ramie stripping device, and finally efficient fiber separation is achieved.
IV. Core Advantages
- Compact and space-saving: Replaces the traditional horizontal moving mechanism with a rotating column, significantly reducing the horizontal floor space of the equipment and adapting to space-constrained scenarios.
- Strong adaptability: Adjusts the clamping distance through the horizontal adjustment device and the feeding angle through the vertical adjustment device, which can adapt to ramie of different specifications.
- Stable operation: Scrapes off the twigs and leaves at the tip in advance to avoid equipment entanglement failures; actively adjusts the feeding posture to solve the problem of unstable feeding.
- High efficiency and quality: The reverse-pull active feeding design improves stripping efficiency, reduces fiber damage and breakage, and ensures stripping quality.





Chisato Ogino
Chisato Ogino, from Kaga City, Ishikawa Prefecture, is a graduate of Kanazawa Gakuin College and the College of Fashion Designers. With extensive experience in apparel design and premium textile development, she has served as Chief Designer at Sanyo Corporation (VINVERT) and collaborated with leading brands such as MUJI, World, and CHISATO PLANNING.
Chisato specializes in innovative material research and exhibition planning for major companies and has also worked as a consultant and lecturer for industry organizations.
Want to Know More About Our Products?
View All Products Now